修复版最新全网倒卖短信系统 有13000+接口

图片[1]-互联网大师兄i修复版最新全网倒卖短信系统 有13000+接口-互联网大师兄i互联网大师兄i

图片[2]-互联网大师兄i修复版最新全网倒卖短信系统 有13000+接口-互联网大师兄i互联网大师兄i

图片[3]-互联网大师兄i修复版最新全网倒卖短信系统 有13000+接口-互联网大师兄i互联网大师兄i

安装教程:

上传源码到服务器或主机根目录解压

然后访问域名/install安装

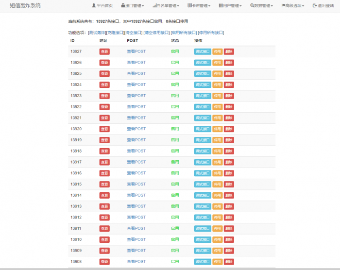
安装好之后我们会发现并没有短信轰炸接口

然后我们去数据库里面找到msg_api.sql这个表然后删除

删除之后我们导入提供的这个表

导入之后去网站后台刷新一下就会发现接口已经导入了

短信接口资源来自于互联网 具体能有多少有效自测

下载地址

© 版权声明
THE END
喜欢就支持一下吧
点赞0赞赏 分享
评论 抢沙发

请登录后发表评论

    暂无评论内容